![]() |
Абразивный износ материала можно рассматривать как действие твердых частиц на поверхность детали, с которой она контактирует (процесс трения частицы по поверхности детали). В некоторых случаях, частицы могут скользить по поверхности контакта, вызывая ее пластическую деформацию, или проникать в поверхность материала и перемещаться вместе с ней, срезая при этом, микрообъемы материала. Интенсивность абразивного износа зависит от твердости, размеров и формы абразивных частиц.
На видео можно наблюдать абразивный износ. Механизм износа - микрорезания.
Выбор данного механизма обусловлен тем, что в процессе контакта материала, из которого изготавливается оборудование с сыпучим материалом (коксом), износ данного материала происходит по схеме, которая характерна именно для этого механизма износа.
Испытания проводились на установке типа НК (недвижимое кольцо):
- Кольцо размещено в желобе, в который засыпан абразивный материал;
- Ось, на которую вращение передается от привода, проходит через центр кольца и имеет два рычага, которые позволяют одновременно закреплять два образца в кольце;
- В желоб с кольцом засыпался кокс, который прошел отжиг при 900 оС
- Для эксперимента используется три усилия прижатия образцов к кольцу.
Одновременно на установке испытывались два образца Ст3 и нержавеющая сталь
![]() | ![]() |
|---|---|
|
Износ образца за счет скольжения его в массе абразивных частиц
|
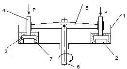
Схема установки типа НК (недвижимое кольцо): 1 - желоб, 2 - недвижимое кольцо, 3 - образец, 4 - держатель, 5 - коромысло, 6 - привод, 7 - абразивный материал
|
![]() |
![]() |
|
Образцы до испытания на абразивный износ
|
Образцы после испытания на абразивный износ
|
Испытания с фиксацией и регистрацией времени и массы износа начинались после притирки образцов. Достигается полный контакт образца с кольцом. В представленном эксперименте изнашивание происходит за счет вращения образца в массе абразивных частиц .
Износ определялся по потере веса, поскольку с помощью измерения веса можно более точно характеризовать изменения образца после трения, чем посредством определения изменения линейных размеров.
После испытаний , учитывая заданные условия эксперимента и полученные данные, были построены графики зависимости величины износа от времени.
Полученные экспериментальные данные указывают на то, что образцы из разных материалов при разных нагрузках проявляют разные свойства. Например, для Ст 3 величина абразивного износа с ростом давления возрастает пропорционально, а для нержавеющей стали - при малых давления величина абразивного износа растет более интенсивно, а при увеличении давления, наоборот, снижается.
Поскольку, оборудование, которое разрабатывалось, должно функционировать в условиях незначительных давлений, то из результатов проведенного эксперимента и испытаний следует, что для изготовления оборудования более целесообразно использовать Ст 3.








Дякуємо всім друзям, партнерам, волонтерам за допомогу та вашу невтомну роботу! Продовжуємо допомагати нашим захисникам та доправляємо військове спорядження, гуманітарну допомогу, польову медицину та спеціальні медицині засоби до військових підрозділів, територіальної оборони, лікарень на передовій!
Якщо є люди, фонди та волонтери, які хочуть відправити допомогу в Україну з країн Європи або США, ми готові приймати на наші склади, складати збірні чи окремі партії та під замовлення і прицільно передавати їх далі кому вона необхідна. На всю гуманітарну допомогу буде надано звітність про передачу, фото.


Говорят, что большие вещи приходят в маленьких посылках. И в течение последнего десятилетия MXenes - двумерные соединения углерода и переходных металлов, впервые разработанные в Дрекселе - подтверждали эту точку зрения, стимулируя инновации во многих областях науки. Теперь новое партнерство открывает возможности для помощи MXenes в спасении жизней.
Совместно с этой лекцией профессор Юрий Гогоци получит звание почетного доктора Сумского государственного университета.Это уникальная возможность приобщиться к науке мирового уровня, окунуться в мир наноматериалов и проследить научный путь нашего соотечественника. Лекция пройдет в 16:00, 27 мая 2021 года в Конгресс-Центре СумГУ, зал Сингапур 220, в г. Сумы.
Материал MXene, который был впервые получен учеными из Университета Дрекселя в 2011 году, - это еще один шаг к тому, чтобы изменить жизнь людей, страдающих болезней почек на 
Участник проекта CANBIOSE из Центра материаловедения (MRC), выполнил визит в партнерскую организацию Вильнюсский университет, для выполнения программы совместных исследований и тренингов.
Всемирно известный ученый-украинец профессор Юрий Георгиевич Гогоци рассказал о последних новинках нанотехнологий. Возможность для общения с ученым мирового уровня - редкость, но воспитанникам Малой Академии Наук Украины (МАН) везет. Именно такую возможность они недавно получили.
Инженер-исследователь из MRC Иван Гришко находится в Латвийском университете, где провел семинар по MXenes
Совместно с польскими коллегами они
Совместно с коллегами из КТУ они занимались симуляциями и моделированием механических свойств наноматериалов и нанокомпозитов.
В январе 2019 года профессор Юрий Гогоци был избран членом Европейской академии наук (EURASC). Профессор Юрий Гогоци - ведущий украинский и американский ученый в области химии, с 2000 года профессор Университета Дрекселя, Филадельфия, США, в области материаловедения, инженерии и нанотехнологий.